Et nytt patent har avslørt at HONOR jobber med en ny smarttelefon med skyveskjerm

Av: Vlad Cherevko | Oppdatert 05.12.2024, 16:08
HONOR presenterer Magic V3: Neste generasjons sammenleggbare innovasjon eller bare hype? HONOR Magic V3. Kilde: HONOR

I følge den siste informasjonen kan HONOR jobbe med sin egen smarttelefon med glidende skjerm.

Her er hva vi vet

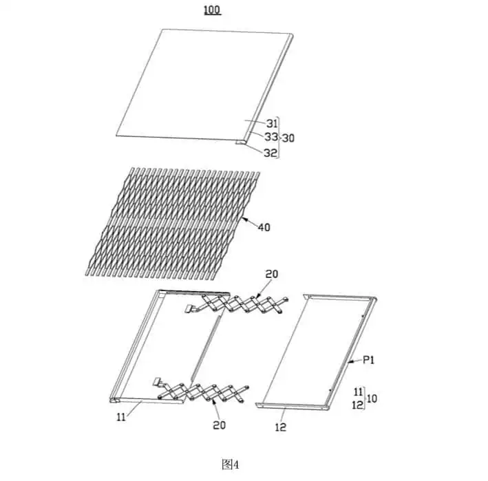
Et patent registrert hos CNIPA (China National Intellectual Property Administration) ble nylig oppdaget som indikerer utviklingen av en enhet med en glidende eller glidende skjerm. Ifølge patentet består skjermen av to deler: den ene forblir stasjonær og den andre glir ut til siden. Disse delene er koblet sammen og sikret med elastiske bjelker, slik at skjermen kan bevege seg jevnt.

HONOR har allerede gjort betydelige fremskritt innen sammenleggbare smarttelefoner med HONOR Magic V3, den tynneste og letteste sammenleggbare telefonen på markedet. Nå ønsker selskapet å bruke sin ekspertise også når det gjelder skyveskjermer.

Ingen selskaper har ennå lansert en kommersielt tilgjengelig smarttelefon med skyveskjerm, selv om OPPO og LG har vist konsepter av slike enheter. Om HONOR vil være i stand til å gjenta suksessen med skyveskjermer, vil tiden vise.

Kilde: ithome, 91mobiles